设为主页
加入收藏
联系我们
双桂首页
关于双桂
公司简介
荣誉资质
VI展示
新闻中心
产品中心
产品特性
产品参数
产品展示
动画演示
工程案例
在线反馈
联系我们
产品目录
产品特性
产品参数
SG1系列
SG4系列
SG5系列
SG6系列
SG10系列
SG15系列
SG-C系列
Z系列
ZN系列
动画演示
当前位置:首页 >> 产品中心 >> 产品展示
产品展示
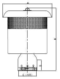
SG6系列
SG6型号参数表
产品型号
建议进气量适用范围
外径(A)
高度(B)
接口内径(C)
接口深度(D)
净重
m³/h
mm
mm
mm
mm
kg
SG6系列
SG635
300-600
260
300
88
55
2.7
SG640
260
300
102
55
2.8
SG645
260
300
115
55
3
SG650
260
300
128
55
3.2
返回 >>
copyright © 2020 版权:常州市武进礼嘉双桂车辆附件厂版权所有 All rights reserved.
苏ICP备20032725号